R&D Fiber Optic Cable Tooling
(2013)

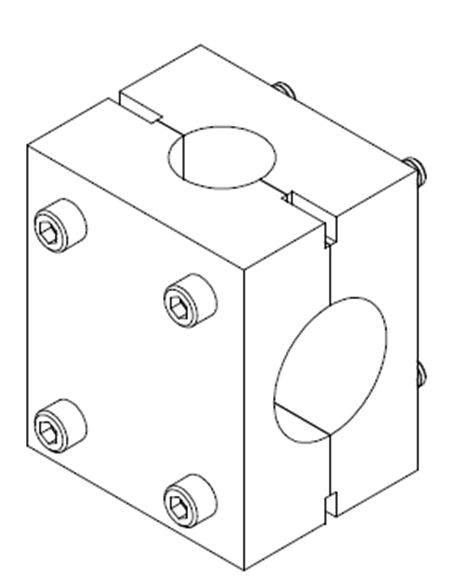
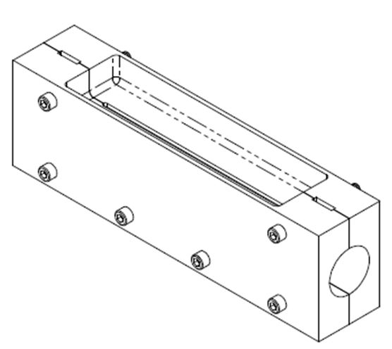
Here are a couple of examples of custom-designed tooling used in the development of optical-fiber cables.

Fixturing - SolidWorks views and photos

  

Mold Tooling - SolidWorks views

  

Shipping Fixture - SolidWorks views

BACK | Pacifico Home